Technical Wiring Resources & Reference Library
Professional reference documentation, wiring diagrams, pinouts, and integration sheets supporting VTI systems and motorsport electrical builds.
ECU Pin-Outs & Diagrams
Chassis Connector Diagrams (continued)
Chassis Connector Diagrams
- OBD1 Honda Distributor Pinout (1993-1995)
- OBD1 Civic Strut Tower Connector (1992-1995 & GSR)
- OBD0 Honda Distributor Pinout (1988-1992)
- OBD0 Civic Strut Tower Connector (B16 CRX)
- Full OBD1 Harnessing Overview (1992-1995)
- Full OBD2A Harnessing Overview (1996-1998)
- Full OBD2B Harnessing Overview (1998-2000/2001)
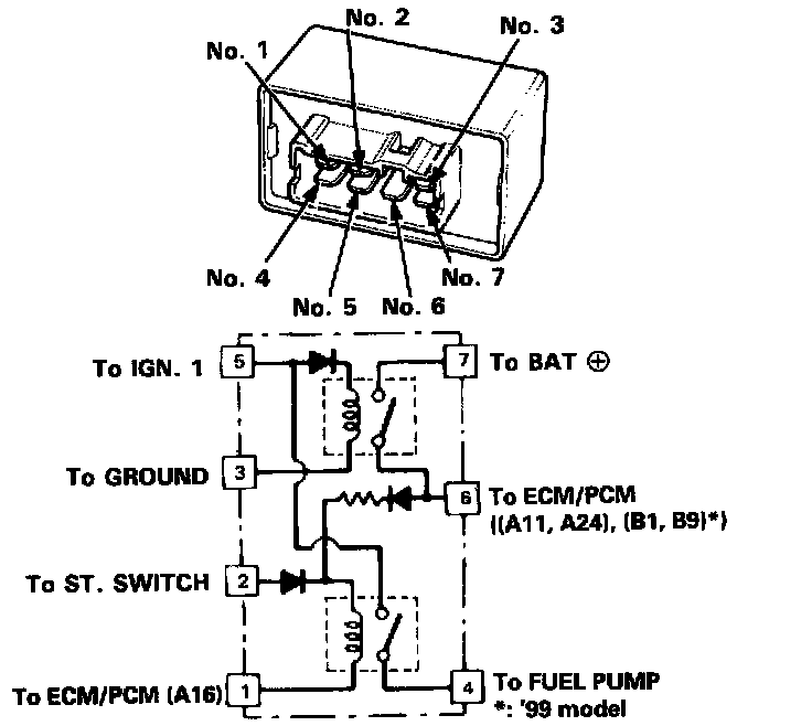
- Honda OBD1/OBD2 Main Relay Pinout (1996-2001)
ECU Pin-outs & Diagrams (continued)
Reference Purpose
Documentation provided for professional installation, integration, and troubleshooting of compatible systems.
Revision Control
Reference sheets may be updated as system configurations evolve. Always verify compatibility prior to installation.
Professional Installation Advisory
These materials assume a working understanding of electrical systems and motorsport wiring practices.